SPF50+的防晒乳,却连核心防晒剂都没有?
11月24日,信用广州官网公示了广州市白云区市监局的行政处罚(穗云市监处罚〔2025〕1874号):广州俪妍化妆品技术有限公司因两大违法行为被罚——生产未经注册的特殊化妆品,以及生产标签虚假的化妆品。最终该企业被没收违法所得7024.01元,罚款9.65万元,罚没合计超10.35万元。
问题核心直指 6 批次“LAENNA莱也纳美白隔离防晒乳”。国家及福建、青海多地药检机构的检测报告均证实,这些标注SPF50+PA+++的产品,完全不含注册配方中标示的防晒成分,实际成分与注册批件严重不符。对消费者来说,这意味着花高价买的“硬核防晒”,本质是起不到任何防护作用的“乳液”,不仅白花钱,还可能因疏于防护导致皮肤晒伤、老化。
广州俪妍是“惯犯”——处罚文书明确指出其曾因同类违法行为被查处,此次属“屡教不改”。尽管调查中企业配合积极、主动提供证据,但这种“罚了再犯”的模式,暴露了其将行政处罚视为“经营成本”的扭曲心态,根本没有树立对法律的敬畏和对消费者安全的责任意识。除了防晒乳,执法人员还在其生产线查获了“韩方五谷”系列标签虚假的面膜、精华液等产品。
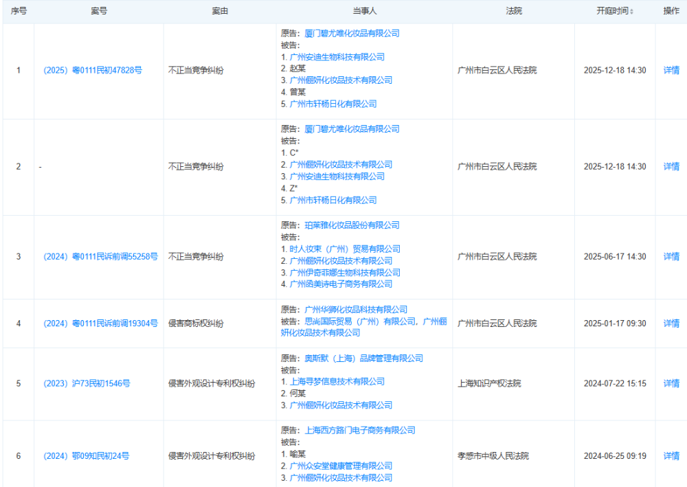
天眼查显示,广州俪妍近年卷入31起法律诉讼,2025年就因不正当竞争、商标侵权三次被告。而品牌“莱也纳”更是代工链条的“问题常客”:2021年至2024年,其委托生产的牙膏两次因菌落总数超标被通报,合作代工厂广州市蒙妮坦日化也因质量体系缺陷被罚57.7万元,涉事产品仍包括莱也纳牙膏,直至2024年末双方因合同纠纷对簿公堂才可能终止合作。
一次防晒剂缺失,撕开的是美妆代工产业链的深层隐患。企业违法成本低、品牌对代工厂监管松散、事后处罚难以形成震慑,这些问题共同催生了“劣币驱逐良币”的风险。对监管部门来说,抬高“屡教不改”的违法成本、建立长效信用惩戒机制,才是治本之策。






